NOTE:
ЭТА СТРАНИЦА ОПИСЫВАЕТ ПОДРОБНУЮ ПРОЦЕДУРУ ДЛЯ ВЫПОЛНЕНИЯ ПРЕДУПРЕДИТЕЛЬНОЙ ЗАМЕНЫ РЕМНЕЙ НЕОБХОДИМОЙ ДЛЯ ЭТИХ МАШИН ПОСЛЕ ПРОБЕГА 60,000 МИЛЬ.
Содержание данного материала подчеркивает значение технически грамотного выполнения работ по замене ремней в соответствующей последовательности и с соблюдением необходимых требований.
ИМЕЙТЕ ВВИДУ: Меняйте сразу два ремня, разрыв вторичного ремня почти определенно приводит к попаданию продуктов разрушения под основной ремень, к нарушению синхронизации валов и как результат к необходимости дорогостоящего ремонта двигателя. Неправильная установка балансирных валов приводит к появлению значительной вибрации двигателя на всех режимах, и как результат ненужные расходы в попытке ее устранения путем замены подушек двигателя и трансмиссии.
Если ваш двигатель имеет большой пробег (более 80 000 миль), то будет хорошей мерой предосторожности поменять водяной насос, натяжные ролики. Хотя заводская информация Mitsubishi не настаивает на замене гидравлического натяжителя главного ремня, многолетний опыт авторемонта, накопленный в Corsa Automotive подсказывает, что такая замена никогда не бывает излишней мерой предосторожности.
ПРОЦЕДУРА РЕМОНТА:
Снятие ремня ГР:
1. Снимите защиту нижнего левой части моторного отделения.
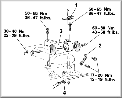
2. Вывесите переднюю часть двигателя и снимите верхнюю подушку двигателя и ее кронштейны (Рис.1). (Двигатель может быть подперт домкратом снизу, но при этом следует соблюдать меры предосторожности для избежания деформации поддона)
3. Ослабьте болты шкива водяного насоса. Снимите все ремни привода навесного оборудования.
4. Снимите шкив водяного насоса.
5. Снимите натяжители ремней навесного оборудования.
6. Удалите шкив коленчатого вала.
7. Снимите нижнюю и верхнюю пластмассовые крышки распределительного механизма.
8. Вращайте коленчатый вал по часовой стрелке и выровняйте метки с тем, чтобы, чтобы привести No. 1 поршень в "Верхнюю Мертвую Точку" (Top Dead Centre) такта сжатия.
Предупреждение: Вращайте коленчатый вал по часовой стрелке.
Штифт зубчатого колеса распределительного вала должен быть в позиции "12 часов" и зубчатые колеса распределительных валов должны смотреть строго друг на друга (левое зубчатое колесо на 3 часа и правое зубчатое колесо в 9 часов позициях, Рис.2).
Обе метки должны лежать на одной линии с центрами вращения распредвалов (Рис 3).
Метки на шестерне коленвала и на приводе масляного насоса также должны находиться напротив своих отметок. (Рис 3).
ПРИМЕЧАНИЕ: Коленчатый вал может быть повернут вплоть до шести поворотов прежде, чем все зубчатые колеса правильно выровнялись по меткам.
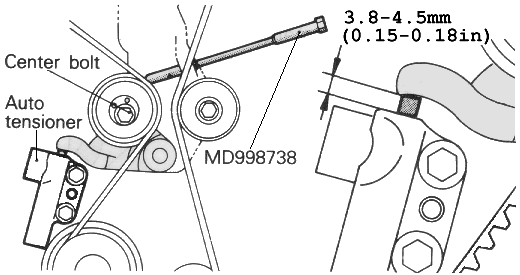
9. Снимите резиновую заглушку из внутренней зашиты ремня и вставьте подходящий болт, который упираясь в рычаг натяжителя, позволит ослабить натяжение ремня, вдвинув вовнутрь шток гидравлического натяжителя. (Рис 4. и 5.). Для этой цели существует специальный инструмент MD998738 (компания Miller Tool), но смысл его достаточно прост и он вполне может быть изготовлен из подручных материалов.
10. Ослабьте центральный болт натяжителя главного ремня (Рис 5).
11. МЕДЛЕННО вкручивайте специальный инструмент (болт), сжимая при этом гидравлический натяжитель до тех пор, пока отверстие в его штока не станет напротив отверстия в его корпусе. (Рис 6). Допускается вращение штока для совмещения его отверстия с отверстием в корпуса.
12. Вставьте прочный металлический прут диаметром 1/16 дюйма (1.4 mm) в совмещенные отверстия и ослабьте и уберите вспомогательный инструмент (Рис 6).
ПРИМЕЧАНИЕ: При малейшем подозрении на отклонение от нормы натяжитель должен быть заменен. Опыт работы Corsa Automotive подсказывает, что это надо делать во всех случаях, что бы получить 100% надежность после ремонта!
13. Снимите ремень привода газораспределительного механизма.
Снятие ремня балансирного вала.
14. Отпустите центральный болт натяжительного ролика балансирного ремня. (Рис.7).
15. Открутите центральный болт прижимающий звездочку коленчатого вала и снимите ее и расположенную за ней направляющую шайбу. Снимите ремень балансирного вала. Если в наличии есть ударный воздушный инструмент, то откручивание/затяжка центрального болта не представляет большого труда. Если его нет, тогда надо проявить некоторую изобретательность и найти безопасный метод удержания коленчатого вала в неподвижном положении. Например, можно использовать отверстие на торце звездочки в которую могут заходить штыри удерживающего инструмента.
В любом случае перед началом откручивания/затягивания убедитесь в том, что метки на распределительном валу не сдвинуты, это обеспечит безопасный зазор между поршнем и клапанами, в случае если провернется коленвал.
Установка:Ремень балансирного вала:
16. Убедитесь, что метки на шестерне коленвала и на звездочке балансирного вала установлены напротив соответствующих меток на корпусе. Установите ремень и проверьте соответствие меток еще раз, убедившись, что тянущая сторона ремня не имеет слабины. (Рис.8).
1990-1992 Models
1993-1994 Models
17. Пододвиньте натяжной ролик, обеспечив натяжение ремня. Затяните центральный болт натяжителя с усилием 15-22 Nm (11-16 ft. lbs.) (Рис. 9).
1993-1994 Models
ВНИМАНИЕ:
ПРИ ЗАТЯГИВАНИИ ЦЕНТРАЛЬНОГО БОЛТА УБЕДИТЕСЬ В ТОМ, ЧТО ЗАТЯЖКА НЕ ПРИВОДИТ К ПОВОРОТУ ЭКСЦЕНТРИКА. ЭТО МОЖЕТ ПРИВЕСТИ К ЧРЕЗМЕРНОМУ НАТЯЖЕНИЮ РЕМНЯ.
Ремень газораспределительного механизма.
18. Вращайте эксцентрик натяжительного ролика большого ремня так, чтобы отверстия на нем оказались слева от оси болта. Затяните центральный болт. (Рис.10).
Внимание: Оставьте шток натяжителя зафиксированным в утопленном положении.
19. Штифт зубчатого колеса распределительного вала должен быть в позиции "12 часов" и зубчатые колеса распределительных валов должны смотреть строго друг на друга (левое зубчатое колесо на "3 часа" и правое зубчатое колесо в "9 часов" позициях) при этом они должны лежать на линии проходящей через оси распредвалов (Рис.11).
20. Если ваш двигатель имеет большой пробег (более 100 000 миль), то имеет смысл заменить водяную помпу и все ролики, имеющие отношение к заменяемым ремням. Замена натяжителя главного ремня так же предотвратит неприятные неожиданности.
21. Если вы меняете неподвижный ролик натяжного большого ремня имейте ввиду, что более ранние модели двигателей используют различные по конструкции натяжные ролики. Для более старых моделей № MD121993, более поздние используют MD155604. Если вы не знаете какой ролик на вашем двигателе, закажите MD155604 И M10x22 болт № MF241281. Более новая конструкция требует более короткий болт.
22. Если вы заменили водяной насос, то сейчас самое время проверить герметичность системы, залив в нее для проверки антифриз.
23. Проверьте чтобы шестерни на коленвале и приводе масляного насоса находились в соответствии со своими метками.(Рис.12).
24. Выкрутите болт-заглушку внизу задней стенки блока цилиндров и вставьте штырь диаметром 8 mm (.31 in.) через образовавшееся отверстие. В качестве штыря можно использовать крестообразную отвертку с подходящим диаметром стержня. Если вал находится в правильной позиции, то штырь можно будет углубить не менее чем на 60 mm (2.4 in.). Если эта глубина только 20-25 mm (.8-1.0 in.), то надо прокрутить вал на один полный оборот, так что бы контрольный штырь зашел на требуемую глубину.
Внимание:
Неправильная установка балансировочного вала приведет к сильной вибрации двигателя. Возможна комбинация когда все метки отлично выставлены, но балансирный вал находится в противоположной фазе.
25. Установите новый ремень привода распределительного механизма на звездочку впускного распредвала и установите вспомогательный зажим (Рис. 14).
26. Используя два накидных гаечных ключа совместите метки валов одна относительно другой в соответствии с Рис.2 и Рис.3 и зафиксируйте положение ремня еще одним зажимом (Рис. 15 и 16).
27. Проложите ремень вокруг всех остальных роликов и звездочек (Рис. 17).
28. Поверните эксцентрик натяжительного ролика по часовой стрелке и затяните центральный болт (Рис. 18).
Внимание:
Еще раз убедитесь, что все звездочки находятся в правильном зацеплении с ремнем и все метки находятся в своих правильных позициях.
29. Выньте контрольный стержень из контрольного отверстия и установите болт-заглушку.
30. Снимите вспомогательные зажимы со звездочек распредвалов.
31. Поверните коленчатый вал на ? оборота против часовой стрелки, а затем обратно, установив начальное положение коленчатого вала и проверив все метки еще один раз.
Внимание:
Еще раз убедитесь, что все звездочки находятся в правильном зацеплении с ремнем и все метки находятся в своих правильных позициях.
32. Ослабьте центральный болт натяжного ролика и установите специальную проставку с динамометрическим ключом MD998767 (Miller Tool) и приложите усилие 2.7 Nm (24 in. lbs.) крутящего момента как показано на ри.19. Не меняя усилия затяните центральный болт с усилием 49 ± 6 Nm (36 ± 4 ft. lbs.).
Внимание:
Неточность при выполнении описанной выше процедуры может привести к тому, что автоматический натяжитель исчерпает пределы своего хода и ремень перепрыгнет зубья на звездочках.
33. Закрутите вспомогательный болт так, чтобы рычаг натяжителя коснулся штока гидравлического натяжителя. После этого извлеките вспомогательный штырь из отверстия в корпусе натяжителя, что позволит штоку выдвинуться, обеспечив необходимую натяжку ремня. (Рис. 20).
34. Уберите весь вспомогательный инструмент и проверните коленвал ШЕСТЬ оборотов по часовой стрелке.
35. Измерьте выход штока натяжителя из своего корпуса как показано на рис. 21. Это расстояние должно быть 3.8-4.5 mm (.15-.18 in.), как видно из рисунка.
Внимание:
Измерения проводите только по истечении 15 минут после того как шток натяжителя был освобожден. И, если результаты измерения не соответствуют спецификации, то задвиньте шток натяжителя назад (см. 10,11 и 12) и повторите шаги 29-32 до достижения желаемого результата.
36. Уберите вспомогательный инструмент MD998738 и вставьте резиновую заглушку в отверстие.
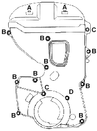
37. Установите нижний и верхний кожух привода газораспределительного механизма и болты в соответствии с рис.22.
| Thread diameter thread length, mm (in.) |
| A: 6 x 16 (.24 x .63) |
| B: 6 x 18 (.24 x .70) |
| C: 6 x 25 (.24 x .98) |
| D: 6 x 28 (.24 x 1.10) |
38. Установите шкив коленвала и затяните с усилием 25 ± 5 Nm (18 ± 4 ft. lbs.).
39. Установите натяжительный механизм компрессора кондиционера и ремень.
40. Установите шкив водяного насоса.
41. Установите ремень генератора/водяного насоса и ремень привода насоса гидроусилителя рулевого механизма.
42. Установите верхнюю подушку двигателя и кронштейн, затянув болты в соответствии с рис. 23.
43. Уберите устройство обеспечивающее поддержку двигателя.
44. Установите брызговик моторного отделения.

